Роспатент выбрал лучшие изобретения 2025 года
Ведь все изобретения-победители уже прошли испытания и скоро станут чем-то обычным для нас.
Конкурс «Успешный патент»
Федеральная служба по интеллектуальной собственности проводит конкурс «Успешный патент» с 2022 года. Цель - поощрять изобретателей и разработчиков, стимулировать инновации и укреплять технологическое лидерство страны.
С каждым годом число участников растет – в 2025 году пришло 219 заявок от компаний из 49 регионов. В прошлом году участников было меньше в полтора раза.
Лидерами по числу заявок стали: Москва (18,3%), Санкт-Петербург (12,8%), Республика Татарстан (11,9%), Нижегородская область (5%) и Челябинская область (4,6%).
Больше всего изобретений было сделано в отраслях:
медицина,
добыча и переработка полезных ископаемых,
авиастроение и аэрокосмическое строение,
металлургия,
информационные технологии,
сельское хозяйство.
Каждая заявка – это изобретение, которое уже внедрено в производство и коммерциализировано.
Лучшие изобретения в 2025 году
Все разработки были разделены на три категории: крупные предприятия, малое и среднее предпринимательство, НИИ и вузы.
I категория – Крупные предприятия
Специалисты ОАО «Славнефть-ЯНОС» (Ярославль) создали технологию арктического дизельного топлива,. Оно способно обеспечивать надежную работу двигателей в самых суровых условиях – при температурах ниже -65°С. Аналогов такой разработки нет во всем мире.
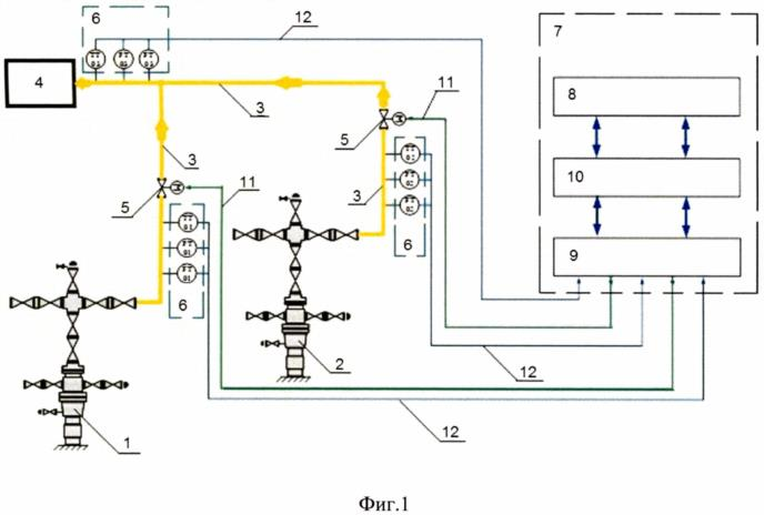
Эксперты ООО «Севернефтегазпром» (Новый Уренгой) разработали систему управления добычей газа в многопластовом месторождении. Система прогнозирует аварийные ситуации, улучшает безопасность охраны труда, а также сокращает расход энергии. Газодобыча стала стабильнее и безопаснее

Созданное АО «Концерн Созвездие» (Воронеж) радиоприемное устройство с цифровой коррекцией самопораженных частот сохраняет устойчивую радиосвязь даже при сильных помехах. Это позволяет создавать качественный радиосигнал, который не подвержен внешнему излучению. Изобретение может применяться в производствах и научной сфере.

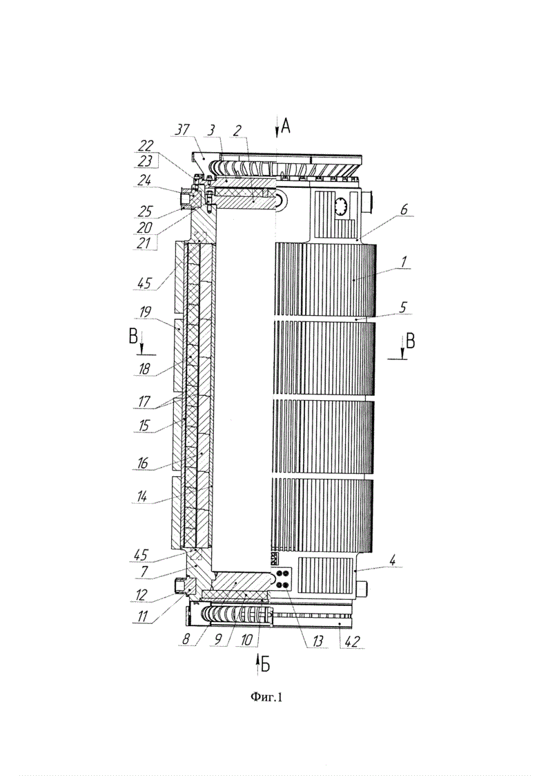
Во ФГУП «РФЯЦ-ВНИИЭФ» (Саров) нашли новый эффективный способ решения проблемы хранения отработавшего ядерного топлива. Компактная, но высокотехнологичная конструкция контейнера для транспортирования и хранения отходов защищает окружающую среду от радиационного (гамма- и нейтронного) ионизирующего излучения. При этом не происходит перегрева отходов, так как тепло отводится к наружной поверхности контейнера и безопасно рассеивается во внешней среде.

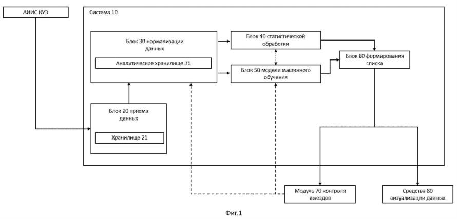
Инженеры ПАО «Мобильные Телесистемы» (Москва) придумали способ определения факта хищения электроэнергии. Компьютерная система с машинным обучением выявляет подозрительное потребление в электрических сетях. По сравнению с аналогами система работает с более высокой точностью. Это позволяет оперативно принимать меры для устранения трат.

II категория – Малое и среднее предпринимательство
Ученые из Биотеха-М (Москва) придумали, как с помощью криоконсервации сохранять готовую кровь для переливания. Устройство позволяет стерильно консервировать тромбоциты без дополнительного оборудования для обеззараживания. При этом хранится кровь без снижения качества тромбоцитов может до 2-х лет - раньше этот срок составлял только 3 дня. Устройство позволяет оперативно использовать пригодную к донорству кровь в любое время, в том числе при внезапных чрезвычайных ситуациях.

Сколковская «Лаборатория Инновационных Технологий» (Москва) разработала способ экстракционного разделения редкоземельных элементов. Эти элементы применяются во многих отраслях: от производства жк - телевизоров до полетов в космос. Способ позволяет значительно уменьшить объем незавершенного производства, легко управлять процессом разделения и достигать требуемой чистоты конечных продуктов.

ИТ-специалисты из ООО «Лаборатория ИнфоВотч» (Москва) разработали усовершенствованный метод потоковой кластеризации данных, который работает быстрее существующих аналогов. Технология позволяет эффективно обрабатывать большие объемы информации, содержащиеся в электронных документах, обеспечивая более точную и оперативную классификацию данных.

III категория – НИИ и вузы
Технологи НИЦ «Курчатовский институт» (Москва) создали новый жаропрочный литейный сплав на основе никеля. Он способен длительное время выдерживать температуру свыше 1000 °С и высокое напряжение (120 мегапаскалей). Подобные сплавы применяются в авиации. Данная технология опережает по указанным характеристикам все известные аналоги.

Сразу две организации ФГБУ «Национальный медицинский исследовательский центр травматологии и ортопедии имени академика Г.А. Илизарова» МЗ РФ и АО «Научно-производственное объединение «Курганприбор» (Москва/Курган) участвовали в создании системы управления процессом лечения различных костных повреждений (дистракционного остеосинтеза). Костные повреждения во многих случаях лечатся с применением аппарата Илизарова. Чтобы кости срослись нужным образом, необходимо точно определить направление усилий аппарата. Система анализирует динамику восстановления и с помощью искусственного интеллекта находит оптимальное угол приложения усилий. Изобретение позволяет быстрее и эффективнее лечить сложные травмы.
Ученые ФГБУ «ВНИИЗЖ» (Владимир) нашли эффективный способ как защитить скот от угроз новых штаммов ящура. Созданная вакцина формирует эффективную защиту даже для наиболее восприимчивых животных — молодых особей. Она уже активно используется на животноводческих предприятиях России.

Все победители получили звание «Лауреат» конкурса «Успешный патент», диплом Роспатента, памятный знак и сертификат на обучение в ФИПС по программам повышения квалификации. Финалисты конкурса также были отмечены дипломами.
Патентование разработки — это сложный многоэтапный процесс. Если вам нужна консультация по регистрации любого вида патента, обращайтесь в “Железно”. Оставьте заявку на сайте, в WhatsApp по номеру +79229092784 или Telegram @zhelezno_pb.